SECOH EL 120 W TWIN Reparatur Kit
Reparatur KIT für SECOH EL 120 W TWIN
Wir liefern nur Orginal Ersatzteil!
mit 2 Membranen mit Haltern und Schrauben, Ventielgehäuse incl. Ventile und Filter
für SECOH EL 120 W TWIN
Austausch des Filters, der Ventilboxen und Membranen
Folgende Empfehlungen bezüglich der Austausch-Intervalle ergeben sich aus den Erfahrungen unserer Kunden beim Einsatz der SECOH Kompressoren bei einer Umgebungstemperatur zwischen -10°C und +40°C und einer Luftfeuchtigkeit von unter 80%
ANLEITUNG |
|
3) Die vier Magnet-Abstandshalter (magnetsupport) an den Ecken zwischen Magnet und Spule einsetzen. |
|
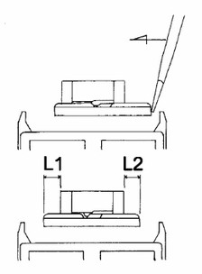
4) Schrauben auf der Ventilbox lösen und Ventilbox abnehmen, wobei der Luftschlauch abgeklemmt werden muss. Dann die Schraube an der Membran lösen und die Membran vom Magneten abziehen. |
|
9) Die Schläuche auf beiden Seiten mit den Ventilboxen verbinden und mit den Klemmen sichern. |
|
|
|
|
| |





